Смотреть видео: Микросхема кха060 описание и схема включения



Микросхема кха060 описание и схема включения

Микросхема кха060 описание и схема включения
МИКРОСХЕМА КХА058 ЧМ ТРАКТ
Разъем jack 6 3 купить
Самые известные способы переделки радиоприемников VEF-12/201/202/206 на FM и еще
Микросхемы и микросборки характеристики, параметры, даташит, аналоги, описание
Схема УКВ-ЧМ приемника на микросхемах KA22429, KA2209
Микросхема кха058: УКВ-ЧМ приемник на микросхеме КХА058 " Вот схема! Производс
КХА058 купить по выгодной цене Радиолавка КВ и УКВ RV3YF
КХА060---схема--- / надёжный и быстрый фотохостинг с 2009 года
Схемы фм приемников на микросхемах: Простой FM приемник на микросхеме Производ
Микросхемы кха058 и К157уд2 купить в Пензе Электроника Авито
шасси ВЭФ-12 с УКВ
Ответы : Составить структурную схему и ее описание, рассказать каждый бло
Микросхема кха058: УКВ-ЧМ приемник на микросхеме КХА058 " Вот схема! Производс
Форум РадиоКот :: Просмотр темы Схема УКВ-ЧМ приемника и его настройка
Pin on RF
Радиоприёмник Укв Диапазона На (кха-058) КВ и УКВ радиосвязь Форум по радиоэ
Два радиоприёмника из прошлого ЯПлакалъ
FM приёмник кха058 в Нальчике, цена 299 руб. Объявления о продаже в категории Ау
Кха058 аналог
Схема радио на микросхеме: Радиоприемник на микросхеме TDA7000 (174XA42) Произ
Форум РадиоКот * Просмотр темы Приемник на КХА058
Кха058 схема приемника
Простой УКВ-FM приемник на КХА058
Купить микросхемы и микросборки, СБИС, БИС, ТТЛ/Ш, ОЗУ-ПЗУ всех видов, КМОП, ОУ
Приемник укв: Приёмник УКВ, 5 (пять) букв Производство и поставка электростанц
МИКРОСХЕМЫ
Микросхема кха058: УКВ-ЧМ приемник на микросхеме КХА058 " Вот схема! Производс
И немного о радиоприёмниках! Схем УКВ радиоприёмника на КС1066ХА1 (TDA7000) гуля
Схемы радиоприемников укв: найдено 84 изображений
УКВ ЧМ пpиемник на микросхеме КХА058
Схема радиоприемника на микросхеме найдено 89 картинок
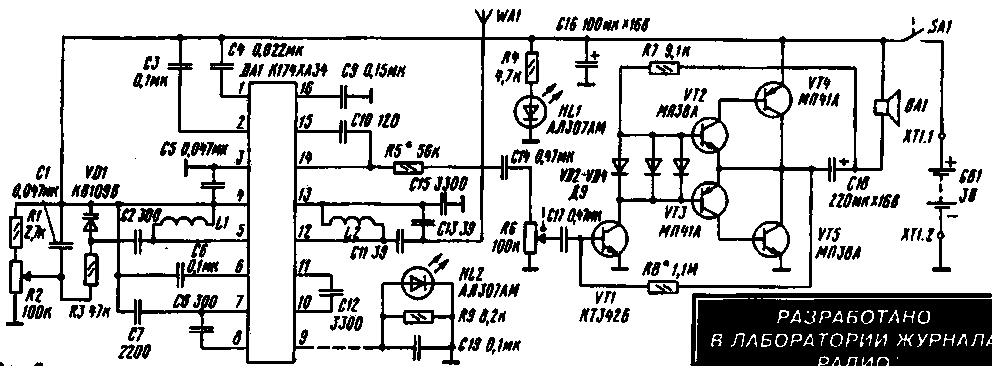
Схема радиоприемника на микросхеме КХА058 (88...108 МГц)
Схема простого карманного приемника " Схемы электронных устройств
Приемник на КХА058 Форум про радио
Микросхема кха060 описание и схема включения
Микросхема кха058 описание и схема включения
Микросхема кха060 описание и схема включения
Микросхема кха060 описание и схема включения
Пин от пользователя Romm на доске Электроника Электроника
Микросхема кха060 описание и схема включения
Простейший приемник УКВ ЧМ на микросборке КХА058
Микросхема кха060 описание и схема включения
Кха058 схема фм приемника
Кха058 схема фм приемника
РадиоКот :: Простой УКВ радиоприёмник своими руками
Приемник в импортной магнитоле
ХА058Н Музей электронных раритетов
Микросхема кха058 описание и схема включения
Микросхема кха058 описание и схема включения
Простой УКВ-FM приемник на КХА058
УКВ приемник в пачке MARLBORO
Микросхема кха058 описание и схема включения
Ответы : Радиоприемник УКВ на базе микросхемы КХА-058
УКВ ЧМ приемник на КХА060
Микросхема кха060 описание и схема включения
Микросхема кха060 описание и схема включения
Микросхема кха060 описание и схема включения
УКВ приемник с ЧМ на специализированной микросборке КХА 058
Микросхема кха060 описание и схема включения