Смотреть видео: Предохранитель вентилятора охлаждения хонда цивик



Предохранитель вентилятора охлаждения хонда цивик

Предохранитель вентилятора охлаждения хонда цивик
Honda Civic Снятие и установка радиатора и расширительного бачка системы охлажде
View of the engine compartment (Honda Civic 6, 1995-2000) "Maintenance" / Hond
Замена предохранителей. Honda Accord (5G), 2 л, 1996 года электроника DRIVE2
Продажа Подкапотный блок предохранителей 1 HONDA ODYSSEY по низкой цене Автобэ
Перегрев двигателя Honda Fit (1G), 1,3 л, 2001 года своими руками DRIVE2
Где надо поменять (наверное) предохранитель Honda Logo, 1,3 л, 1999 года сво
Ответы : датчик абсолютного давления в коллекторе honda civic где находит
Вентилятор радиатора Honda Odyssey 4 поколение (2008-2013), купить запчасть с
Honda Accord Spirior Acura TSX с 2008 года устройство кондиционера
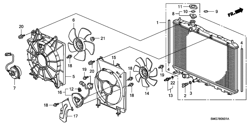
Вентилятор радиатора, охлаждения Honda Civic, 1987-1993 г.в. б/у, новые купить в
Пост помощи(несрабатывает вентилятор ОЖ. Honda Civic 4D (8G), 1,8 л, 2008 года
Схема honda civic 4d
Предохранители и реле Honda CR-V RD1-RD3 Honda CR-V (RD1, RD2), 2 л, 1996 года
Предохранитель бензонасоса хонда
Предохранители honda civic 4d
Радиатор для Honda CIVIC FK2, год: 2006. OEM запчасти Мегазип (регион продаж -
Перечень расположения компонентов системы управления вентилятором системы охлажд
Ланцугі вентылятара сістэмы астуджэння (Хонда Цывік 6, 1995-2000) "Электрычныя
Про блок предохранителей от Odyssey RA6 и Avancier TA2. S2X и S3N Honda Avanci
Вентилятор охлаждения Honda Civic 2010 купить в Москве по цене: 4 500 ₽ объявл
Замена вентилятора охлаждения Honda Stream (RN), 1,7 л, 2002 года аксессуары D
Перестал включаться вентилятор радиатора Honda Accord (5G), 2 л, 1995 года наб
Схема предохранителей црв
Honda Civic Проверка состояния вентилятора(ов) системы охлаждения и цепи его вкл
Предохранители и реле Honda CR-V RD1-RD3 Honda CR-V (RD1, RD2), 2 л, 1996 года
Предохранители honda civic 4d
Картинки ПРЕДОХРАНИТЕЛЬ ЦИВИК 5Д
Купить вентилятор охлаждения Хонда Цивик 4Д в Санкт-Петербурге
federacja ojczysty czarter honda accord 1999 radiator fan not working Przetrwać
Предохранители и реле honda civic 4d 60 фото
Предохранители honda civic 4d
Вентилятор охлаждения хонда аккорд: найдено 85 картинок
Предохранитель омывателя лобового стекла хонда цивик 4д расположение EurCars.r
Хонда аккорд 7 предохранитель абс 60 фото
Предохранители и реле Honda Stream 1 Блоки предохранителей
Сплавился предохранитель на большой вентилятор вместе с гнездом! Honda CR-V (R
Руководство по ремонту Honda Civic (Хонда Цивик) 1994-2000 г.в. 14.27.8 Цепи вен
Вентилятор радиатора основного Honda Civic 8, Civic 8 купить по цене 1,875.00
Предохранитель центрального замка Honda Capa Honda Capa
Öröklés fogaskerék eredet fusibles honda civic 2008 Ébredés Oldalukkal felfelé S
Схема предохранителей хонда цивик ферио es1
Пыль японских дорог и установка подогрева сидений. Honda Civic Hatchback (7G),
Схема предохранителей под капотом и в салоне Honda Civic Ferio (7G), 1,5 л, 20
Honda Accord Проверка исправности функционирования приводного электромотора Хонд
Перечень расположения компонентов системы управления вентилятором системы охлажд
Перечень расположения компонентов системы управления вентилятором системы охлажд
Предохранитель аварийного питания Honda Civic 4D (8G), 1,8 л, 2007 года своими
Расположение реле и блоков управления Моторный отсек.
Обозначение и расположение предохранителей и реле в блоке предохранителей. Hon
в продолжении темы беды ! Honda S-MX, 2 л, 1997 года запчасти DRIVE2
Схема расположения предохранителей в блоке Honda Civic Hatchback (6G), 1,5 л,
Схема предохранителей honda civic ek
07. Освещение салона / резинки под петли капота Honda Civic 4D (8G), 1,8 л, 20
Шпаргалка+ (Все предохранители под капотом и салона CIVIC 4D 2012 IX gen.) H
Мануалы автомобилей Хонда
Перестали гореть стоп сигналы на Civic (6 поколение) (EK3) (1996) Honda Civic
Подключение противотуманок civic 92-95 Honda Civic Coupe (5G), 1,6 л, 1994 год
Перечень расположения компонентов системы управления вентилятором системы охлажд
Субару ошибка р1518 60 фото